On 9 April 2026, the US Patent and Trademark Office published a Tesla, Inc. filing that was refreshingly devoid of the usual buzzwords. There were no neural networks, no generative “world models”, and precisely zero mentions of AI. Instead, patent US20260097493A1 describes, in obsessive detail, a knee.
Filed on the same day as Tesla’s 2022 AI Day, the document pulls back the curtain on the bio-inspired mechanics propelling the Optimus humanoid. Just days before the filing went public, CEO Elon Musk took to X to claim that “Optimus 3 is walking around, but needs some finishing touches.” If this patent is any indication, we’ve just found the joint it’s walking on.
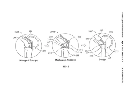
The patent’s most compelling figure isn’t a dense CAD drawing, but a simple, three-panel storyboard of evolution. It begins with a diagram of a human knee labelled “Biological Principle”, transitions to a stick-figure “Mechanical Analogue”, and concludes with the final “Design”. The document explicitly maps human anatomy—quadriceps, patella, and ligaments—onto a four-bar linkage. This isn’t just a piece of robotics; it is a direct mechanical translation of millions of years of evolutionary trial and error. The result? A human-equivalent 150 degrees of rotation powered by a single, remarkably compact linear actuator.

The mechanism itself—a modified inverse Hoecken’s linkage—is an elegant answer to a notoriously difficult engineering problem. The human knee is a masterpiece of efficiency because it doesn’t simply pivot on a fixed point; the leverage shifts as it bends, providing maximum torque exactly when the body needs it most. Tesla’s four-bar system mimics this variable mechanical advantage, allowing a relatively modest motor to produce powerful, fluid movement across a wide range of motion. The patent details how Tesla used heavy-duty simulations to find the “Goldilocks” length for each link, minimising power drain while hitting ambitious torque and speed targets.
Why this matters
This knee is the linchpin in Tesla’s quest to make Optimus commercially viable. By opting for one small actuator rather than a bulky, power-hungry assembly, Tesla has managed to slash the cost, weight, and complexity of the leg. This is a non-negotiable requirement if Musk is to hit his target price of $20,000–$30,000 (£16,000–£24,000) per unit. These marginal gains are essential for the firm’s plan to churn out one million robots a year at the Fremont factory—a site already being cleared of Model S and X production to make room for its new robotic overlords.
While the design is undoubtedly clever, Tesla isn’t the only one cribbing from nature’s homework. Industry analysts have pointed out that the next-generation IRON humanoid from Xpeng appears to be sporting a remarkably similar linkage system. With Tesla’s blueprints having been in the public eye since AI Day 2022, it seems the humanoid industry is rapidly converging on a “best-in-class” architecture. Evolution took millions of years to perfect the geometry of the stride; Tesla is betting it can replicate it on a budget.

